모든 매뉴얼 리셋 제품은 지진을 대비할 수 있는 진동 시험 검증을 거치는 제품입니다.


C51Series의 솔레노이드 밸브는 3Port・2Position 매뉴얼 리셋식 솔레노이드 밸브입니다.
매뉴얼 리셋식 솔레노이드 밸브는 비상용으로 사용되는 솔레노이드 밸브로,
일반 솔레노이드 밸브는 통전, 정전에 대해 자동으로 전환 동작을 하지만,
매뉴얼 리셋식 솔레노이드 밸브는 한 번 동작하면 다시 통전 또는 정전이 되더라도 수동으로 리셋을 하지 않는 한 작동 위치를 바꾸지 않는 구조를 가진 반자동 밸브입니다.
반자동 밸브이므로 일반 솔레노이드 밸브처럼 전원의 ON-OFF에 따라 자유롭게 밸브가 작동되는 일은 없습니다.
<작동설명>
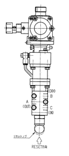
전자변에 통전 후, 리셋노브를 RESET 방향으로 멈출 때까지 눌러주세요. 그 위치가 통상의 위치로, A와 B가 접속하고 있고, C는 닫혀 있습니다.
긴급시, 전자변 정전으로 인해 리셋이 풀려 C와 A가 접속되어 B는 닫힙니다. 다시 전자변이 통전해도 리셋 노브를 누르지 않는 한 긴급위치를 유지합니다.
전자변에 통전 후, 리셋노브를 RESET 방향으로 멈출 때까지 눌러주세요. 그 위치가 통상의 위치로, C와 A가 접속하고 있고 B는 닫혀 있습니다.
긴급시, 전자변 정전으로 인해 리셋이 풀려, A와 B가 접속되어 C는 닫힙니다. 다시 전자변이 통전해도 리셋노브를 누르지 않는 한 긴급위치를 유지합니다.
전자변 정전상태로, 리셋노브를 RESET방향으로 멈출 때까지 눌러주세요. 그 위치가 통상의 위치로, A와 B가 접속되어 있고, C는 닫혀있습니다.
긴급시, 전자변 통전으로 인해 리셋이 풀려, C와 A가 접속되어 B는 닫힙니다. 다시 전자변이 정잔해도, 리셋 노브를 누르지 않는 한 긴급위치를 유지합니다.
전자변 정전상태로, 리셋노브를 Reset 방향으로 멈출 때까지 눌러주세요. 그 위치가 통상의 위치로, C와 A가 접속되고 있고, B는 닫혀있습니다.
긴급시, 전자변 통전에 의해 리셋이 풀려, A와 B가 접속되어 C는 닫힙니다. 다시 전자변이 정전해도, 리셋노브를 누르지 않는 한 긴급위치를 유지합니다.